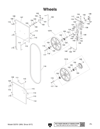
Parts for G0701 - 19" 5 HP Ultimate Bandsaw

Part Diagram for G0701
Part Diagram for G0701
Part Diagram for G0701
Part Diagram for G0701
Part Diagram for G0701
Part Diagram for G0701
Part Diagram for G0701
Part Diagram for G0701
Part Diagram for G0701
Part Diagram for G0701
Part Diagram for G0701

IMPORTANT: Parts may have multiple versions that have changed over time. This will be indicated by V1, V2, V3, etc. in the parts description, followed by the version month and year that it was first used. Example: V2.01.17 indicates version 2 of a part went into use in January 2017. Please reference the manufacture date on the ID Label for your machine to ensure you are selecting the correct part when multiple versions are indicated.

If you cannot locate your part below, please contact our tech support department at techsupport@grizzly.com or 570-546-9663.

Please note: All parts ship out of our Springfield, Missouri facility.

Ref #
Part #
Description
1
TAP SCREW M4 X 8
Price
N/A
2
Price
$21.20
3
TAP SCREW M4 X 10
Price
N/A
4
Price
$7.00
5
FLAT WASHER 4MM
Price
N/A
6
Price
$1.60
7
ROLL PIN 3 X 12
Price
N/A
8
TENSION POINTER BRACKET
Price
$2.45
9
Price
$1.60
10
Price
$4.30
11
*DISCD*FRAME
Item is no longer available
Price
N/A
12
LIFTING EYE BOLT M12-1.75 X 20
Price
$17.85
13
SHOULDER SCREW M4-.7 X 6
Price
$1.60
14
PLASTIC FLAT WASHER 13 X 6 X 1.5
Price
$1.60
15
Price
$46.85
16
HANDLE
Price
N/A
17
LEVER ROD M16-2
Price
N/A
18
HEX NUT M16-2
Price
N/A
19
ROTATE SHAFT
Price
N/A
20
CAP SCREW M3-.5 X 10
Price
N/A
21
LOCK WASHER 10MM
Price
N/A
22
KNOB BOLT M10-1.5 X 55, 6-LOBE, D62
Price
N/A
23
LOCK LEVER M10-1.5
Price
N/A
24
FLAT WASHER 10MM
Price
N/A
25
CLEAR WINDOW
Price
N/A
26
RIVET 3.2 X 10
Price
N/A
27
CAP SCREW M6-1 X 20
Price
N/A
28
KNOB
Price
N/A
29
HEIGHT POINTER
Price
N/A
30
FLANGE SCREW M5-.8 X 10
Price
N/A
31
LOCK NUT M6-1
Price
N/A
32
CAP SCREW M6-1 X 25
Price
N/A
33
BLADE TENSION HANDWHEEL
Price
N/A
34
HEX BOLT M10-1.5 X 110
Price
N/A
35
HEX NUT M10-1.5
Price
N/A
36
FLAT WASHER 10MM
Price
N/A
37
STRAIN RELIEF M20 TYPE-6 ST
Price
N/A
38
PLATE
Price
N/A
39
PHLP HD SCR M4-.7 X 16
Price
N/A
40
Price
$1.60
41
HEX NUT M4-.7
Price
N/A
42
FLEXIBLE TUBE 1/2" X 43-1/2"
Price
$12.40
43
GROMMET M13 TYPE-1 PUSH-IN
Price
N/A
44
CAP SCREW M8-1.25 X 25
Price
N/A
45
Price
$1,021.00
45-1
Price
$39.00
45-2
Price
$17.85
45-3
CAPACITOR COVER
Price
N/A
45-4
S CAPACITOR 400M 250V 1-3/4 X 3-1/2
Price
$93.15
45-5
R CAPACITOR 45M 350V 1-3/4 X 4
Price
$42.90
45-6
MOTOR WIRING JUNCTION BOX
Price
N/A
45V2
MOTOR 5HP 220V 1-PH V2.03.12
Price
$1,072.05
45V2-1
Price
$28.45
45V2-10
BALL BEARING 6204ZZ
Price
N/A
45V2-2
Price
$18.45
45V2-3
Price
$18.45
45V2-4
S CAPACITOR 300M 250V 2 X 4 LAI
Price
N/A
45V2-5
R CAPACITOR 45M 450V 2 X 3-1/2
Price
$68.15
45V2-6
MOTOR WIRING JUNCTION BOX
Price
$13.60
45V2-7
CONTACT PLATE W/CENTRIFUGAL SWITCH 1720
Price
$26.90
45V2-8
CONTACT PLATE W/CENTRIFUGAL SWITCH 1720
Price
N/A
45V2-9
BALL BEARING 6206-2RS
Price
N/A
46
ADJUSTMENT HUB COVER
Price
N/A
47
HEX BOLT M10-1.5 X 35
Price
N/A
48
TERMINAL BLOCK
Price
N/A
49
PHLP HD SCR M4-.7 X 20
Price
N/A
50
TERMINAL BOX
Price
N/A
51
FLANGE SCREW M5-.8 X 50
Price
N/A
52
MAGNETIC SWITCH ASSY V1
Price
$176.30
52V2
MAGNETIC SWITCH MP-30E V2.11.10
Price
N/A
52V2-1
MAGNETIC SWITCH MP-30E V2.11.10
Price
N/A
52V2-2
MAGNETIC SWITCH MP-30E V2.11.10
Price
N/A
52V2-3
OL RELAY SDE RA-30 18-26A V2.11.10
Price
N/A
53
Price
$1.60
54
BRAKE STEP PLATE
Price
N/A
55
LOCK WASHER 6MM
Price
N/A
56
CAP SCREW M6-1 X 16
Price
N/A
57
LOCKING SET SCREW M7-1 X 10
Price
$1.60
58
BUSHING
Price
N/A
59
BRAKE SHOE
Price
N/A
60
CAP SCREW M6-1 X 25
Price
N/A
61
CAP SCREW M8-1.25 X 30
Price
N/A
62
LOCK WASHER 8MM
Price
N/A
63
FLAT WASHER 8MM
Price
N/A
64
BUSHING
Price
N/A
65
Price
$48.65
66
HEX NUT M6-1
Price
N/A
67
EXTENSION SPRING
Price
N/A
68
PHLP HD SCR M4-.7 X 30
Price
N/A
69
FLAT WASHER 4MM
Price
N/A
70
LIMIT SWITCH CANLIE KL7141
Price
N/A
71
BRAKE LEVER CORD
Price
N/A
72
TAP SCREW M4 X 8
Price
N/A
73
PROTECT TUBE 1/2" X 43-5/16"
Price
N/A
74
HEX BOLT M6-1 X 25
Price
N/A
75
FLAT WASHER 6MM
Price
N/A
76
LOCK NUT M6-1
Price
N/A
77
BRUSH
Price
N/A
78
LOWER WHEEL SUPPORT
Price
N/A
79
FLAT WASHER 6MM
Price
N/A
80
CAP SCREW M6-1 X 16
Price
N/A
81
LOWER WHEEL SHAFT
Price
N/A
82
V-BELT A32
Price
N/A
83
MOTOR PULLEY
Price
N/A
84
SET SCREW M6-1 X 12
Price
N/A
85
CAP SCREW M8-1.25 X 25
Price
N/A
86
ADJUST BOLT
Price
N/A
87
START SWITCH
Price
N/A
88
E-STOP BUTTON 250V 10A
Price
N/A
89
KEYED POWER SWITCH
Price
N/A
90
PHLP HD SCR M5-.8 X 10
Price
N/A
91
SWITCH PLATE
Price
N/A
92
CORD CONNECTOR 224-201
Price
N/A
93
CONNECTING CORD
Price
N/A
94
GUIDE POST ELEVATION SWITCH
Price
$269.75
100
DOOR SAFETY SWITCH CORD
Price
$8.50
101
DOOR LATCH SWITCH ADZ-S11
Price
N/A
102
FLANGE SCREW M4-.7 X 35
Price
N/A
103
HEX NUT M4-.7
Price
N/A
104
FLAT WASHER 4MM
Price
N/A
105
PHLP HD SCR M4-.7 X 10
Price
N/A
106
DOOR LATCH SWITCH ADZ-S11
Price
N/A
107
Price
$134.05
107A
UPPER WHEEL COVER W/LABELS
Price
$138.60
108
FLANGE NUT M5-.8
Price
N/A
109
Price
$42.00
110
CAP SCREW M5-.8 X 12
Price
N/A
111
Price
$33.55
112
CAP SCREW M6-1 X 16
Price
N/A
113
LOCK WASHER 6MM
Price
N/A
114
LOCK NUT M6-1
Price
N/A
115
Price
$124.15
115A
LOWER WHEEL COVER W/LABELS
Price
$116.55
116
SAW BLADE 166" X 1-3/8" X 0.035"
Price
$81.55
117
CAP SCREW M8-1.25 X 25
Price
N/A
118
LOCK WASHER 6MM
Price
N/A
119
SQUARE SHAFT WASHER 8MM
Price
N/A
120
BALL BEARING 6306-2RS
Price
N/A
121
LOWER WHEEL ASSEMBLY
Price
N/A
121A
Price
$543.80
122
LOWER WHEEL ASSEMBLY
Price
N/A
123
LOWER WHEEL ASSEMBLY
Price
N/A
124
PHLP HD SCR M6-1 X 16
Price
N/A
125
LOWER WHEEL ASSEMBLY
Price
N/A
126
CAP SCREW M8-1.25 X 20
Price
N/A
127
UPPER WHEEL ASSEMBLY
Price
N/A
127A
Price
$473.10
128
UPPER WHEEL SHAFT
Price
N/A
129
SET SCREW M5-.8 X 5
Price
N/A
130
SET SCREW M10-1.5 X 16
Price
N/A
131
LOCATE PLATE
Price
N/A
132
SQUARE SHAFT
Price
N/A
133
HEX NUT M8-1.25
Price
N/A
134
CAP SCREW M8-1.25 X 50
Price
N/A
135
CAP SCREW M8-1.25 X 30
Price
N/A
136
PILLOW BLOCK
Price
N/A
137
CAM
Price
N/A
138
FLAT HD SCR M5-.8 X 16
Price
N/A
139
TENSION ADJUSTMENT BOLT
Price
$14.50
140
GUIDE BLOCK
Price
N/A
141
COMPRESSION SPRING
Price
N/A
142
SET SCREW M4-.7 X 6
Price
N/A
143
Price
$51.95
144
CAP SCREW M8-1.25 X 40
Price
N/A
145
Price
$17.85
146
THRUST BEARING 51105
Price
N/A
147
Price
$5.50
148
Price
$1.60
149
TAP SCREW M4 X 10
Price
N/A
150
UPPER WHEEL HINGE
Price
N/A
151
PHLP HD SCR M4-.7 X 10
Price
N/A
152
Price
$16.35
153
Price
$1.60
154
EXT TOOTH WASHER 5MM
Price
N/A
155
Price
$9.40
156
HEX BOLT M5-.8 X 12
Price
N/A
157
FLAT WASHER 5MM
Price
N/A
158
Price
$28.45
200
Price
$244.25
201
FENCE END PLATE 148 X 22 X 1
Price
N/A
202
TAP SCREW M4 X 10
Price
N/A
203
Price
$84.55
204
Bandsaw Table Insert
Price
N/A
205
CAP SCREW M8-1.25 X 50
Price
N/A
206
Price
$144.05
207
Price
$13.25
208
FLAT WASHER 6MM
Price
N/A
209
LOCK WASHER 6MM
Price
N/A
210
HEX BOLT M6-1 X 20
Price
N/A
211
HEX BOLT M8-1.25 X 20
Price
N/A
212
LOCK WASHER 8MM
Price
N/A
213
FLAT WASHER 8MM
Price
N/A
214
HEX NUT M8-1.25
Price
N/A
215
FLAT WASHER 8MM
Price
N/A
216
Price
$527.45
216-1
Price
$5.50
217
MITER GAUGE ASSY
Price
N/A
217-1
MITER GAUGE ASSY
Price
N/A
217-10
Price
$2.75
217-11
FLAT HD SCR M6-1 X 8
Price
N/A
217-12
MITER GAUGE ASSY
Price
N/A
217-13
MITER GAUGE ASSY
Price
N/A
217-14
Price
$2.75
217-15
FLAT WASHER 8MM
Price
N/A
217-2
PHLP HD SCR M4-.7 X 16
Price
N/A
217-3
HEX NUT M4-.7
Price
N/A
217-4
PHLP HD SCR 10-24 X 1/4
Price
N/A
217-5
MITER GAUGE ASSY
Price
N/A
217-6
MITER GAUGE ASSY
Price
N/A
217-7
MITER GAUGE ASSY
Price
N/A
217-8
PHLP HD SCR 10-24 X 1/4
Price
N/A
217-9
MITER GAUGE ASSY
Price
N/A
233
TRUNNION BLOCK
Price
N/A
234
PRESS BLOCK
Price
N/A
235
POINTER
Price
N/A
236
PHLP HD SCR M4-.7 X 10
Price
N/A
237
HANDLE KNOB M12-1.75 FEMALE
Price
N/A
238
HANDLE SHAFT
Price
N/A
239
HEX NUT M12-1.75
Price
N/A
240
FLAT WASHER 10MM
Price
N/A
241
LOCK WASHER 10MM
Price
N/A
242
CAP SCREW M10-1.5 X 35
Price
N/A
243
PRESS SHAFT
Price
N/A
244
MICRO ADJUSTING RING
Price
N/A
245
LOCK WASHER 8MM
Price
N/A
246
HEX BOLT M8-1.25 X 20
Price
N/A
247
ROLL PIN 6 X 36
Price
N/A
248
BLADE GUARD
Price
N/A
249
FLANGE BOLT M6-1 X 10
Price
N/A
250
TRUNNION HOUSING
Price
N/A
300
HEX BOLT M8-1.25 X 55
Price
N/A
301
FLAT WASHER 8MM
Price
N/A
302
SLIDING PLATE 220MM 3 HOLE V1
Price
N/A
302V2
SLIDING PLATE 300MM 2 HOLE V2.06.08
Price
N/A
303
LOCK NUT M8-1.25
Price
N/A
304
CAP SCREW M6-1 X 10
Price
N/A
305
LOCK WASHER 6MM
Price
N/A
306
FLAT WASHER 6MM
Price
N/A
307
CAP SCREW M8-1.25 X 25
Price
N/A
308
LOCK WASHER 8MM
Price
N/A
309
FLAT WASHER 8MM
Price
N/A
310
Price
$48.65
311
TABLE TILT BRACKET
Price
N/A
312
HEX NUT M16-1.5
Price
N/A
313
WORM CYLINDER
Price
N/A
314
FIXED PLATE
Price
N/A
315
WORM GEAR
Price
N/A
316
PINION GEAR BOLT
Price
N/A
317
TABLE TILT GUIDE BRACKET COVER
Price
N/A
318
HEX NUT M5-.8
Price
N/A
319
COVER
Price
N/A
320
FLANGE BOLT M5-.8 X 10
Price
N/A
321
CAP SCREW M8-1.25 X 16
Price
N/A
322
LOCK WASHER 8MM
Price
N/A
323
RACK
Price
N/A
324
PHLP HD SCR M4-.7 X 10
Price
N/A
325
HEX NUT M4-.7
Price
N/A
326
FLAT HD SCR M4-.7 X 10
Price
N/A
327
EXTENSION RACK
Price
N/A
328
SQUARE TUBE
Price
N/A
329
HANDWHEEL TYPE-35 178D X 14B-S X M10-1.5
Price
N/A
330
HANDLE 3/8-16 X 1/2
Price
N/A
331
CAP SCREW M6-1 X 25
Price
N/A
332
SET SCREW M5-.8 X 5
Price
N/A
333
LOCK COLLAR
Price
N/A
334
BUSHING
Price
N/A
335
CAP SCREW M6-1 X 40
Price
N/A
336
LOCK WASHER 6MM
Price
N/A
337
BEARING BUSHING
Price
N/A
338
BALL BEARING 6202ZZ
Price
N/A
339
LOWER BLADE GUIDE ASSEMBLY
Price
N/A
340
EXT RETAINING RING 15MM
Price
N/A
341
ECCENTRIC SHAFT
Price
N/A
342
CAP SCREW M6-1 X 16
Price
N/A
343
BLADE GUIDE SUPPORT ROUND V2.12.05
Price
N/A
344
ADJUSTING SHAFT V2.10.04
Price
N/A
345
EXT RETAINING RING 12MM
Price
N/A
346
BALL BEARING 6201ZZ
Price
N/A
347
LOWER BLADE GUIDE ASSEMBLY
Price
N/A
348
SPACING SLEEVE
Price
N/A
349
LOWER SUPPORT BRACKET
Price
N/A
350
FLAT WASHER 6MM
Price
N/A
351
CAP SCREW M6-1 X 16
Price
N/A
352
BEARING BUSHING
Price
N/A
353
GUIDE BLOCK BRACKET UPPER
Price
$27.90
355
CAP SCREW M8-1.25 X 35
Price
N/A
356
FLAT WASHER 8MM
Price
N/A
358
CAP SCREW M6-1 X 16
Price
N/A
359
LOCK WASHER 6MM
Price
N/A
360
FLAT WASHER 6MM
Price
N/A
361
Price
$33.85
362
FLAT WASHER 6MM
Price
N/A
363
CAP SCREW M6-1 X 10
Price
N/A
364
Price
$207.15
365
PLASTIC FLAT WASHER 13 X 6 X 1.5
Price
N/A
366
SHOULDER SCREW M4-.7 X 6
Price
N/A
367
BLADE GUARD COVER EXTERNAL
Price
$33.85
368
BLADE GUARD COVER INTERNAL
Price
$33.85
369A
LOWER BLADE GUIDE ASSEMBLY
Price
$109.00
400
FLAT HD SCR M4-.7 X 12
Price
N/A
401
Price
$7.25
402
Price
$13.80
403
FLANGE SCREW M6-1 X 16
Price
N/A
404
Price
$180.55
405
GUIDE POST MOTOR 40W 12VDC V2.11.24
Price
N/A
405V2
GUIDE POST MOTOR 40W 12VDC V2.11.24
Price
$458.15
406
FLAT HD SCR M5-.8 X 16
Price
N/A
407
Price
$47.45
408
Price
$26.90
409
Price
$99.05
410
Price
$36.55
411
Price
$7.25
412
Price
$34.80
413
LOCK WASHER 5MM
Price
N/A
414
CAP SCREW M5-.8 X 16
Price
N/A
415
PHLP HD SCR M4-.7 X 8
Price
N/A
416
Price
$17.85
417
STEEL BALL 8MM
Price
N/A
418
Price
$1.60
419
SET SCREW M10-1.5 X 10
Price
N/A
420
NYLON SET SCREW M7-1 X 10
Price
$1.60
421
SET SCREW M4-.7 X 8
Price
N/A
422
Price
$11.20
423
SET SCREW M4-.7 X 6
Price
N/A
424
HEX NUT M5-.8
Price
N/A
425
PHLP HD SCR M5-.8 X 55
Price
N/A
426
Price
$7.25
427
FLAT WASHER 6MM
Price
N/A
428
Price
$3.40
429
Price
$3.40
430
Price
$10.90
431
Price
$23.60
500
LOCK KNOB M8-1.25 X 44
Price
N/A
501
FLAT WASHER 8MM
Price
N/A
502
CAP SCREW M8-1.25 X 20
Price
N/A
503
HEX NUT M8-1.25
Price
N/A
504
FENCE
Price
N/A
505
NYLON PIECE
Price
N/A
506
MOVING PLATE
Price
N/A
507
POINTER
Price
N/A
508
FLANGE SCREW M5-.8 X 8
Price
N/A
509
SHAFT
Price
N/A
510
FLANGE SCREW M4-.7 X 8
Price
N/A
511
SPRING PIECE
Price
N/A
512
FENCE LOCK HANDLE M8-1.25 X 22, 30 X 77
Price
N/A
513
HEX NUT M8-1.25
Price
N/A
514
PIVOT BLOCK
Price
N/A
515
PLASTIC SET SCREW
Price
N/A
516
SET SCREW M8-1.25 X 12
Price
N/A
517
WRENCH 10 X 13MM OPEN-ENDS
Price
N/A
518
WRENCH 17 X 19MM OPEN-ENDS
Price
N/A
519
HEX WRENCH 5MM
Price
N/A
520
HEX WRENCH 6MM
Price
N/A
600
Price
$16.40
600V2
MACHINE ID LABEL (CSA) V2.02.18
Price
$16.40
601
Price
$9.75
602
DONT OPEN 2W X 3.3H
Price
N/A
603
BS MOVING/ADJUST 2W X 3.3H
Price
N/A
604
BANDSAW BLADE 2W X 3.3H V2.04.08
Price
N/A
605
DISCONNECT 110V 1.5W X 2.5H
Price
N/A
606
GREY PUTTY REF G0504
Price
N/A
607
N/S GRIZZLY GREEN G1023S
Price
N/A
608
READ MANUAL 2W X 3.3H V2.07.05
Price
N/A
609
ELECTRICITY 1.4W X 1.2H
Price
N/A
610
GUIDE POST ELEVATION LABEL
Price
$1.35
611
SAFETY GLASSES 2W X 3.3H V2.04.08
Price
N/A
612
GRIZZLY.COM LABEL 11",GREEN
Price
N/A
613
Extreme Series Nameplate
Price
N/A
614
Nameplate - Large
Price
N/A
615
Price
$10.95
616
Price
$16.40
617
Price
$10.95
618
WHEEL LOCK LEVER NOTICE
Price
$10.95
MAN
MANUAL G0701 MFD-06.09-02.12 V1.10.09
Price
$28.75
MANV2
MANUAL G0701 MFD-03.12-08.17 V2.03.12
Price
$14.25
MANV3
MANUAL G0701 MFD-09.17-10.24 V3.03.19
Price
$14.25
MANV4
MANUAL G0701 MFD-11.24+ V4.11.24
Price
$21.95